A válvula de retenção rotativa H44T-16, também conhecida como válvula de retenção ou válvula de retenção, tem a função de evitar o refluxo do meio na tubulação. As peças de abertura e fechamento dependem do fluxo do meio e da potência para abrir ou fechar, para evitar o refluxo do meio na válvula chamada de válvula de retenção. A válvula de retenção pertence à classe de válvulas automáticas, usada principalmente para o fluxo unidirecional de mídia na tubulação, permitindo que o meio flua apenas em uma direção para evitar acidentes. Esse tipo de válvula na tubulação geralmente deve ser instalado horizontalmente.
Recursos do produto
A válvula de retenção rotativa adota uma estrutura rotativa de balancim interno, todas as partes de abertura e fechamento da válvula são instaladas dentro do corpo da válvula, não penetram no corpo da válvula, além das partes do flange central com juntas de vedação e anéis de vedação, não há pontos de vazamento externos, eliminando a possibilidade de vazamento da válvula. O balancim da válvula de retenção oscilante e a conexão da aba da válvula com a estrutura de conexão esférica, de modo que a aba da válvula na faixa de 360 graus tenha um certo grau de liberdade, há uma quantidade apropriada de compensação para a posição, adequada para meios limpos, não deve ser usada para partículas sólidas e viscosidade do meio.
Parâmetro do produto
Modelo do produto | H44T-16 |
Material do corpo da válvula | ferro fundido cinzento |
Material da válvula | Ferro fundido cinza sobreposto a latão |
Pressão nominal | ≤1,6Mpa |
Mídia aplicável | Água, gás, óleo, etc. |
Temperatura aplicável | ≤120°C |
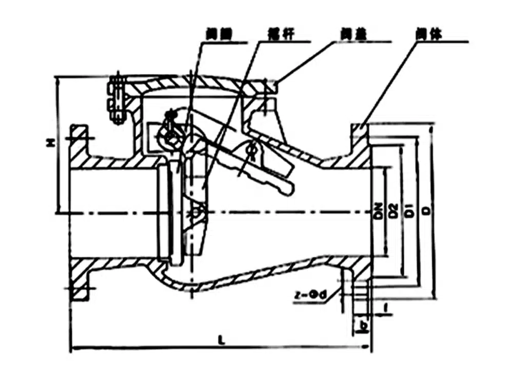
Referência do tamanho do produto

uma via pública | L | D | D1 | D2 | b-f | Z-d | H |
DN40 | 200 | 145 | 110 | 85 | 18-3 | 4-18 | 123 |
DN50 | 230 | 160 | 125 | 100 | 20-3 | 4-18 | 135 |
DN65 | 290 | 180 | 145 | 125 | 20-3 | 4-18 | 142 |
DN80 | 310 | 195 | 160 | 135 | 22-3 | 8-18 | 165 |
DN100 | 340 | 215 | 180 | 155 | 22-3 | 8-18 | 260 |
DN125 | 400 | 245 | 210 | 185 | 24-3 | 8-18 | 203 |
DN150 | 475 | 280 | 240 | 210 | 24-3 | 8-23 | 233 |
DN200 | 600 | 335 | 295 | 265 | 26-3 | 12-23 | 303 |
DN250 | 620 | 390 | 350 | 320 | 28-3 | 12-23 | 344 |
DN300 | 698 | 440 | 400 | 368 | 28-4 | 12-23 | 368 |

















