A válvula de desconexão americana de aço inoxidável J11W-16P é a introdução de tecnologia avançada na Europa, estrutura razoável, formato bonito, boa vedação, pequeno atrito entre as superfícies de vedação, vida útil mais longa e assim por diante; a válvula de desconexão americana de aço inoxidável é amplamente usada em água, vapor, óleo, ácido nítrico, ácido acético e outros meios.
Recursos do produto
- Estrutura simples, relativamente fácil de fabricar e manter.
- Pequeno curso de trabalho, tempo curto de abertura e fechamento.
- Boa vedação, baixo atrito entre as superfícies de vedação, longa vida útil.
- O atrito da superfície de vedação durante o processo de abertura e fechamento é menor do que o da válvula de gaveta, que é mais resistente ao desgaste.
- Há apenas uma superfície de vedação, que é bem fabricada e de fácil manutenção.
- As formas estruturais do corpo da válvula globo são de passagem reta, de fluxo reto e de ângulo reto.
Parâmetro do produto
Modelo do produto | J11W-16P |
Material do corpo da válvula | Aço inoxidável 304 |
Pressão nominal | ≤1,6Mpa |
Mídia aplicável | Água, gás, óleo, etc. |
Temperatura aplicável | ≤150°C |
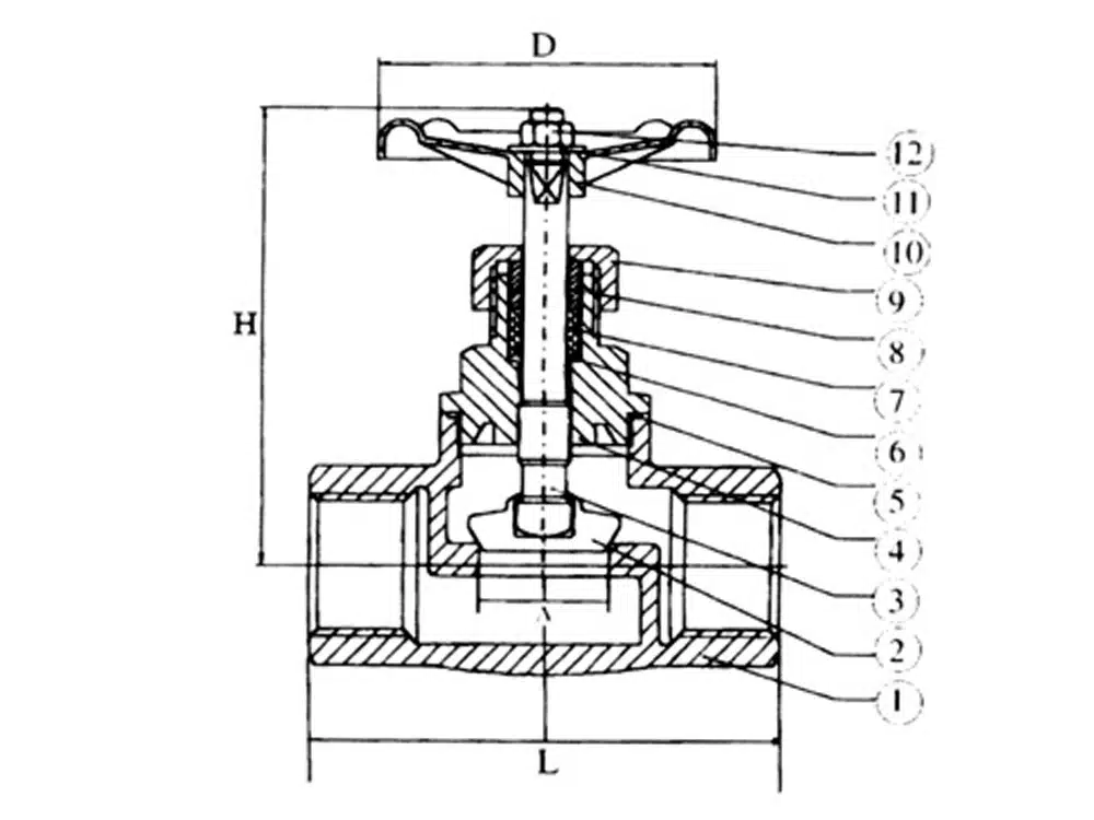
Referência do tamanho do produto

uma via pública | TAMANHO | L | D | H |
DN15 | 1/2 | 64 | 70 | 100 |
DN20 | 3/4 | 74 | 70 | 106 |
DN25 | 1 | 85 | 80 | 118 |
DN32 | 1-1/4 | 102 | 80 | 134 |
DN40 | 1-1/2 | 112 | 100 | 152 |
DN50 | 2 | 133 | 100 | 172 |

















